来源 :财经九号院
作者 :跳跳
作为西南地区老牌上市药企,重药控股2025年一至三季度营收利润双双增长的业绩表现,看似走出了 2024 年业绩大滑坡的阴霾,但其2024年归母净利润同比大跌54.69%的业绩缺口尚未填补,业绩修复的基础本就薄弱。
更值得警惕的是,2025年以来公司多项核心财务指标全面恶化,如货币资金大幅缩水、短期负债高企、现金流持续净流出,应收账款与存货双高形成的资金占用和减值风险持续攀升。
与此同时,旗下大量子公司出现商票逾期、被执行信息,围标串标被暂停军采资格等合规违规行为更是密集出现,且上市公司至今未披露任何内部整改措施。多重风险交织下,重药控股的业绩回暖或许是昙花一现,企业经营已拉响多重警报。
1 业绩修复或仅为表象,现金流与债务危机凸显
重药控股2025年的业绩回血,并未带来企业资金链的改善,反而呈现出货币资金快速消耗、短期负债大幅攀升、现金流双向净流出的严峻局面,财务结构的脆弱性持续加剧。
从资金储备来看,2025年公司货币资金消耗速度惊人,从年初的93.9亿元锐减至三季度末的53亿元,降幅超43%,企业可自由支配的流动资金大幅缩水。与之形成鲜明对比的是,公司债务结构向短期负债倾斜,短期负债规模从2025年初的153.76亿元猛增至三季度末的185亿元,增长超20%。还有近93亿元的一年内到期非流动负债,两项合并重药控股一年内到期的短债高达278亿元。
以此计算,重药控股在2025年三季度末的现金短债比仅为0.19,不仅远低于全行业平均现金比率,更低于医药流通行业的安全偿债标准,在手现金已远远无法覆盖短期债务,短期偿债压力剧增。

现金流的表现则更为糟糕,成为重药控股经营的最大痛点。2024年至今的7个报告期内,公司经营性现金流净额均为净流出状态,2025年一季度至三季度分别为-21.65亿、-22.73亿、-23.30亿元,经营活动的“自我造血”能力大幅下滑。雪上加霜的是,2025年以来公司筹资性现金流同样持续净流出,三季度末筹资净流出达6.68亿元,意味着企业通过外部融资“输血”的渠道也已收窄。

尽管2025年一季度公司财务费用因融资成本下降同比大幅减少33.45%,但在短期负债高企、现金流双向枯竭的背景下,财务端的降本增效难以抵消整体的资金压力,公司资金链已处于紧绷状态。
2 应收账款存货双高挤占流动性,减值风险侵蚀业绩根基
重药控股流动资金的持续紧张,与应收账款、存货规模居高不下形成的巨额资金占用有很大关系,而两大资产的高企,还让公司面临着持续攀升的减值风险,进一步侵蚀本就脆弱的业绩基础。
存货方面,公司存货规模长期维持在百亿高位,2024 年底为99.77亿元,2025年年中增至102.9亿元,三季度末虽略有回落但仍达101.6亿元,始终未出现实质性下降。医药行业的存货具有保质期短、更新换代快的特点,百亿规模的存货不仅持续占用企业流动资金,还面临着存货跌价的潜在风险,一旦市场环境变化,存货跌价准备的计提将直接影响公司利润。

应收账款的问题则更为突出,甚至成为公司资金占用的“重灾区”。公司应收票据及应收账款规模从2024年底的332.1亿元,一路攀升至2025年三季度末的381.45亿元,连续创下新高,仅2025年前三季度就增长了近50亿元。回款效率的低下进一步加剧了资金压力,2024年公司应收账款周转天数为147天,2025年一季度更是增至151天。

与之对应的是,公司信用减值损失大幅增加,2025 年一季度信用减值损失达2.26亿元,同比增长31.02%,至三季度末,信用减值达5.72亿元、同比大增62%,主要是应收账款的坏账准备计提。目前公司应收账款规模仍在攀升,若回款情况未能改善,未来信用减值损失还将进一步增加,而存货的高位运行也让资产减值风险持续积聚,两大减值风险将直接抵消业绩修复的成果,成为公司盈利的重要拖累。
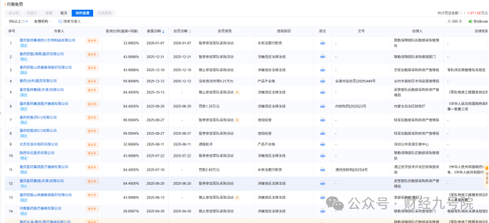
3 子公司乱象丛生:商票逾期、围标串标、被执行人…
如果说财务指标的恶化是重药控股的内部经营问题,那么旗下子公司的财务违约、司法被执行、合规违规等一系列乱象,则暴露了公司对下属企业的管控失效,且相关风险已开始向上传导,给上市公司带来了多重经营隐患。

财务违约方面,重药控股子公司的商票逾期和被执行问题密集出现。2025年12月,旗下重庆医药集团湖州医药有限公司、重庆医药垫江医药有限责任公司出现商票逾期,两家公司商票逾期金额近3000万元,其中垫江公司已是连续多月逾期。
值得注意的是,截至2026年1月17日,2025年以来重药控股旗下子公司的被执行信息达30多条(截至1月17日查询信息,下同)。

如今年1月14日,重药控股(四川)有限公司成为被执行人,执行金额77.8万元;1月7日,南充和平药房连锁有限责任公司成为被执行人;目前,重药控股(辽宁)有限公司仍有10条被执行信息,执行金额456万元,重药控股蒙东(通辽)医药有限公司更是多次成为失信被执行人,被执行总金额高达4966万元。子公司的债务违约和司法纠纷,不仅损害了企业整体的品牌形象,还可能让上市公司承担连带责任,在公司自身现金流紧张的背景下,进一步加剧了财务压力。

合规层面,子公司的违规行为更是触目惊心,且集中在军队采购和政府采购这一重要业务板块。2025 年以来,公司大量子公司因围标串标、未按约定履约等行为,被军队采购部门暂停或禁止参与采购活动,重庆医药集团四川生物制品有限公司、重药控股(海南)医药有限公司、重药控股山西康美徕医药有限公司等多家企业接连被通报,重庆医药集团医疗器械有限公司、河南重药医疗器械有限公司等还在地方政府采购中存在围标串标行为。

军队采购和政府采购是医药企业的重要营收来源,子公司相关资格被暂停,不仅直接影响当期业务开展,还会让公司整体失去相关领域的投标资格,对后续市场拓展造成长期负面影响。
在作者看来,重药控股2025年的业绩回暖,或许只是停留在营收利润层面的表面修复,其背后的现金流承压、债务高企、资产减值风险,以及子公司管控失效、合规体系崩塌等问题,才是企业经营的核心矛盾。
除了上市公司自身的现金流、存货、债务等重点问题之外,重药控股子公司的财务与合规乱象并非个例,而是呈现出多发高发、涉及区域广、违规类型集中的特点,这背后是上市公司内控体系的失效。而在相关部门对旗下子公司进行密集处罚和通报后,重药控股至今未发布任何内部整改的相关报道,整改态度的消极,或许会让企业的长期经营风险进一步放大。
对于重药控股而言,若不能尽快出台有效措施,加快应收账款回款、优化债务结构、盘活存货资产,更重要的是建立健全子公司的内控管控体系,对违规行为进行彻底整改并向市场披露,那么当前的业绩回暖态势难以持续,西南药企龙头的地位也将岌岌可危,甚至可能陷入业绩与财务的双重泥潭。